

近日,苏州住建最新发布第二批装修补贴!线上申报将于2025年11月17日上午9点开放!
通过补贴杠杆激活存量住房的 “二次生命力”,不仅直接带动家装、建材等产业链的复苏,更与新房补贴形成 “购房 — 装修” 消费闭环,为内需提振注入持续动能。对房地产市场而言,装修补贴的深层价值在于疏通存量流通堵点。通过降低旧房改造成本,政策实质上提升了二手房的居住品质。与人才房票、房票安置等政策形成协同,既稳定了存量住房的使用效率,又为新房市场导入改善型需求,推动楼市从 “增量扩张” 向 “存量优化” 转型


根据省住房和城乡建设厅等3部门印发的《关于加力扩围实施旧房装修、厨卫等局部改造以旧换新工作的通知》(苏建房管〔2025〕9号)文件精神,现开展2025年苏州市旧房装修改造补贴活动,具体事项公告如下:
本次补贴适用于2025年内个人消费者通过活动参与企业购置苏州市旧房(包括城镇住宅和农村住宅)装修改造所需物品和材料的情形。补贴范围:饰面砖、地板、墙板、集成吊顶、套装门、家装成品窗、整体柜、淋浴房、洁具。
本次补贴按照个人消费者与活动参与企业签订装修合同中的物品和材料购置价的15%给予补贴,每人且每套房补贴金额最高不超过3万元。一套房有多个产权人的只补贴一次。同一套房不重复享受商务部门的家装家居补贴、民政部门的居家适老化改造补贴和住建部门2024年旧房装修、厨卫局部改造补贴。申请补贴金额实行限额管理,先申请先得,用完即止。
具有房屋产权证明的个人家庭拥有的苏州市住宅类用房,包括城镇住宅、农村住宅,不包括商业、办公用房等非住宅及法人单位所拥有的住宅。
补贴申请人须为房屋产权人。申请人、装修合同签订人、房屋产权人三者应一致,或者申请人同时列名于装修合同签订人、房屋产权人之中。
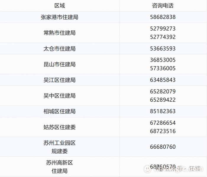
1.申请入口
本次补贴活动采取线上申领的方式,5月29日8时起个人消费者可通过江苏银行“苏银随心办”微信小程序在线提交申请。小程序中点击“2025年江苏消费品以旧换新补贴申领”弹窗,点击“装修厨卫等局部改造补贴”并选择苏州地区即可进入申请界面,按步骤填报。
扫描下方二维码跳转至申报页

2.申请材料
(1)申请表(附件1)及身份证正反面。
(2)房屋产权证明:房屋不动产权证、房屋所有权证、农村宅基地确权证明或有关单位开具的房屋产权合法证明。
(3)装修合同:应为2025年1月1日(含) -2025 年12月31日(含)期间与活动参与企业签订的装修合同,合同中应包含物品和材料报价明细表。
(4)付款凭证:应为2025年1月1日(含) -2025 年12月31日(含)期间活动参与企业向个人消费者开具的本次活动区域内的正规发票,发票的抬头应为房屋产权人或申请房屋的坐落。
(5)物品和材料购置明细表(附件2)。
(6)施工前、施工中及装修改造后照片至少各一张。
(7)银行卡:申请人所拥有的一类账户。
(8)承诺书(附件3)。
(9)装修改造第三方证明(附件4):有物业服务企业的由所在小区物业服务企业出具,没有物业服务企业的,可由属地社区居委会、村委会提供。
?一套房有两家及以上装修公司并签订装修合同的,可以一次申请并分别提供相应的申报材料,累计补贴金额最高不超过3万元。
装修、改造房屋所在地县(市、区)住建部门对申请材料进行审核,线上资料审核通过的,审核部门将委托第三方进行实地核查,申请人应积极配合核查工作,拒不配合的,将取消该户申报资格。线下核查通过视为最终审核通过,申请人可登录微信小程序查看申报进度。
按照最终审核通过的申请时间先后排序,形成待拨付补贴清单,具体拨付进度根据资金下达的时间和额度按排序发放至申请人账户。因申请人提供银行卡等信息不准确,导致资金拨付不成功的,将会短信通知申请人,申请人请应在5日内向审核部门补充提供正确信息,未在规定时间提供正确信息的则视为自动放弃补贴。
申请人领取补贴后或在补贴尚未发放前退货,导致补贴额度或补贴基数发生变化的,须在发生退货后5个工作日内主动向申请单位说明,撤回申请、返还相应已获补贴。
审核部门将会同税务、商务等相关部门对审核通过的发票等申请材料进行不定期核查,如发现个人或企业有骗补、套补、重复补贴等行为的,严肃处理,取消补贴资格,涉嫌违法犯罪的移送司法机关。

太仓房产信息咨询
添加微信,注明“买房”
太房热线为您服务
更多太仓楼市信息请继续关注-太房热线。

凡注明非太房热线来源的作品,作品版权归原发布媒体及文章作者所有。本网转载文章出于传递更多信息之目的,并不意味着赞同其观点或证实其内容的真实性,亦不构成任何建议。